DOP高效送风口(液槽式高效送风口)液槽式高效过滤器,DOP高效送风口也可称液槽式高效送风口,解决了因送风口中成框与液槽式高效过滤器安装密封等问题,导致过高效过滤器边框外漏风的难题,并对已完工的净化工程在高效过滤器(送风口)泄漏检测不合格的情况下,可更换高效过滤器进行改装不需更换原有送风口等其他配件。
DOP高效送风口-液槽式高效送风口工作原理:
其目的是为了空气在通过HEPA过滤器之前获得较理想的静压,使高效过滤器出风均匀。需要现场检漏的HEPA箱配有PAO溶胶粉尘进入口和上游浓度检测口,以及基于客户要求的压差检测口和扩散板。
类型:密封方式有干式密封、湿式密封、干湿双密封,箱体材质有冷轧板喷塑、304不锈钢、铝合金、ABS塑料、不锈钢、铝合金等类型。
DOP高效送风口-液槽式高效送风口送风形式:顶送风、侧送风。
DOP高效送风口-液槽式高效送风口扩散板形式:满孔式扩散板、百叶窗式扩散板、旋流面板等。
DOP高效送风口-液槽式高效送风口用行业:应食品、药品、生物工程、微电子等。
DOP高效送风口-液槽式高效送风口特点:
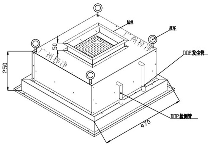
1、箱体风阀(联体型)冷轧钢板或者不锈钢制作、表面静电喷塑,采用插板式吊装定位,不需吊杆调节花兰等吊装配件。
2、散流板为铝板满孔表面静电喷塑。
3、过滤器为无泄漏型无隔板高效过滤器,H14- U15(过滤效率0.3 um 99.995%,h14 dop检侧)。外框为铝型材,滤芯为HV超细玻璃纤维纸。
4、软接采用单面涂层凡布缝制,长度200。
DOP高效送风口-液槽式高效送风口使用场合:
高效过滤器(HEPA)一般是指对粒径大于等于0.3um粒子的捕集效率在99.99% 以上的过滤器,通常作为制药企业洁净车间的末端过滤装置,用以提供洁净的空气。洁净室是否能达到和保持设计的洁净级别在一定程度上与高效过滤器的性能及其安装有关。因此对洁净车间的高效过滤器进行检漏测试,确保其符合要求,是保证车间洁净环境的重要手段之一。,FDA在无菌药品生产指南中也指出在高效过滤器安装后应进行检漏测试,以检查过滤器密封垫、框架及过滤器滤材等处的密封性,对于无菌制剂生产车间应定期进行高效过滤器的检漏试验。
我司现有的液槽过滤器铝型材:80,90,150,220,可以配150,220厚度的有隔板高效过滤器,也可以配80厚度的无隔板高效过滤器.按风管的接入位置分为顶部送风和侧面送风.其中顶部送风可以在进风口加焊均流板,使箱体内的静压更加均匀,同时使过滤器出风面的风速更均匀。
DOP下调式送风口(在过滤器出风面可以调节风量)技术也上线,可以满足不同客户的特殊要求。
DOP液槽式高效送风口产品构成及规格表:
箱体材质:冷轧钢板静电喷塑,可以提供不锈钢或者铝板材质散流板:冷轧钢板静电喷塑,可以提供不锈钢材质散流板类型:散流面板,可以提供圆孔板、漩涡扩散板或四路散射板配备过滤器:液槽型高效过滤器过滤器滤料:超细玻璃纤维过滤器效率:H13/H14/U15三种效率可供选择液槽胶:聚亚氨酯胶密封胶:阻燃性聚氨酯胶分隔物:热塑性胶护面网:喷塑钢板网。
液槽送风口采用刀边型插入液槽过滤器的果冻胶内实现密封,避免了送风从安装间隙处泄漏,可一次性的通过DOP发尘的完整性检测;
液槽送风口上安装两个DOP接头,一个发尘,一个检测,方便用户在过滤器出风面对单台过滤器进行DOP发尘检测和测试高效过滤器的压差,快拆接头下接的软管通到箱体底,这样可以保证过滤器上游发尘浓度均匀;
旋转式压块,方便过滤器的安全、快速更换;液槽密封保证更换过滤器无泄漏;
液槽送风口跟普通送风口一样,可以做GH320,GH484,GH610,GH630,GH726,GH915,GH968,GH1220,GH945,GH1260等标准型,同时尺寸也可以根据客户的要求制作。推荐阅读:可更换一体化高效送风口

DOP液槽式高效送风口部分过滤器参数对照表:
常规顶接
DOP液槽式高效送风口箱体尺寸:375×680×250
液槽式高效过滤器尺寸:305×610×69 额定风量500m
nDOP液槽式高效送风口箱体尺寸:680×680×250
液槽式高效过滤器尺寸:610×610×69 额定风量1000m
DOP液槽式高效送风口箱体尺寸:680×985×250
液槽式高效过滤器尺寸:610×915×69 额定风量1500m
DOP液槽式高效送风口箱体尺寸:680×1290×250
液槽式高效过滤器尺寸:610×1220×69 额定风量2000m
常规侧接
DOP液槽式高效送风口箱体尺寸:375×680×400
液槽式高效过滤器尺寸:305×610×69 额定风量500m
DOP液槽式高效送风口箱体尺寸:680×680×400
液槽式高效过滤器尺寸:610×610×69 额定风量1000m
DOP液槽式高效送风口箱体尺寸:680×985×400 液槽式高效过滤器尺寸:610×915×69 额定风量1500m3
DOP液槽式高效送风口箱体尺寸:680×1290×450
液槽式高效过滤器尺寸:610×1220×69 额定风量2000m
旋流顶接
DOP液槽式高效送风口箱体尺寸:520×520×250
液槽式高效过滤器尺寸:450×450×69 额定风量500m
DOP液槽式高效送风口箱体尺寸:680×680×250
液槽式高效过滤器尺寸:610×610×69 额定风量1000m
DOP液槽式高效送风口箱体尺寸:830×830×250
液槽式高效过滤器尺寸:762×762×69 额定风量1500m
DOP液槽式高效送风口箱体尺寸:940×940×250
液槽式高效过滤器尺寸:870×870×69 额定风量2000m
旋流侧接
DOP液槽式高效送风口箱体尺寸:520×520×400
液槽式高效过滤器尺寸:450×450×69 额定风量500m3
DOP液槽式高效送风口箱体尺寸:680×680×400
液槽式高效过滤器尺寸:610×610×69 额定风量1000m3
DOP液槽式高效送风口箱体尺寸:830×830×400
液槽式高效过滤器尺寸:762×762×69 额定风量1500m3
DOP液槽式高效送风口箱体尺寸:940×940×400
液槽式高效过滤器尺寸:870×870×69 额定风量2000m3
注:DOP液槽式高效送风口接风管尺寸说明:
额定风量500m接风管尺寸200*200mm/ϕ200
额定风量1000m接风管尺寸200*320mm/ϕ300
额定风量1500m 接风管尺寸200*400mm/ϕ350
额定风量2000m3/h 接风管尺寸250*500mm/ϕ400
附DOP检测说明:
DOP检漏法检测方法
确定高效过滤器本身及其安装是否有明显的渗漏,必须在现场对以下几处进行测试:过滤器的滤材;过滤器的滤材与其框架内部的连接;过滤器框架的密封垫和过滤器组支撑框架之间;支撑框架和墙壁或顶棚之间。DOP检漏的材料、仪器有:尘源(PAO溶剂)、TDA-6C气溶胶发生器、气溶胶光度计。
我公司使用的气溶胶发生器为ATI TDA-6C.手持式Laskin喷嘴型气溶胶生器,它直接使用空气而不需要压缩气体作为动力。在20Pa工作压力下, 气流速度为50~2025f3/min时,可产生10~100ug/mL 浓度的多分散性亚微米级油尘气溶胶。使用的气溶胶光度计为ATI 2H型光度计,动态测量范围为0.00005~120ug/L,采样流量为1F3/min(28.3L/min)。
在待测高效过滤器上游一侧引入PAO气溶胶
对于HVAC系统中的HEPA, 为使气溶胶到达HEPA时时的浓度均匀,可将气溶胶直接从系统风机的负压一侧引入,如要从风管中引入,则应在距HEPA至少10倍风管直径处引入,并尽量减少拐弯(美国环境科学和技术学会)。一般情况下,保持上游气溶胶达到要求浓度,且浓度波动在一定范围即可。对于层流罩、超净台上的HEPA,气溶胶直接从系统风机的负压一侧引入。
气溶胶光度计初始化、设定100%、0%参比标准值
按照气溶胶光度计操作要求进行初始化、设定报警值。将UPSTREAM采样管与上游采样口相连,测量上游气溶胶的浓度。按照气溶胶发生器操作要求调节发生的气溶胶浓度,使上游气溶胶浓度达到10~20ug/mL。
扫描检漏卸下HEPA的散流板,对整个滤器面、滤器与边框之间、边框与边框之间以及边框与静压箱之间的密封进行扫描。扫描时采样头距滤器面约1英寸(约2.54cm),扫描速度不超过5cm/s。扫描按直线来回往复地进行,线条间应重叠。检测过程中,若有报警声(即%LEAKAGE(泄漏率)超过0.01%),表明有泄漏。泄漏处经用硅胶堵漏或紧固以后再进行扫描巡检。检查一个过滤器约为5min 左右,在测试的过程中,应经常确认上游气溶胶的浓度,注意在检测过程中应带防护面罩和防护眼罩。
高效过滤器DOP检漏法结果判定及处理:
高效过滤器泄漏率应小于等于0.01%。若HEPA在检测过程中, 所有点的%LEAKAGE( 泄漏率%) 都不超过0.01%,则判该HEPA合格,若有一处%超过0.01%,则判为不合格,并将该点标记出来,需修补或更换。高效过滤器滤料泄漏处允许用专用胶水修补,但是单个泄漏处的面积不能大于总面积的1%,全部泄漏处的面积不能大于总面积的5%,否则必须更换。
注:DOP高效送风口可根据用户要求非标订制!

